您的位置 首页 财经

飞骧科技港股IPO:主要客户注册地址重合疑为空壳公司 递表前夕突击变更工商信息上演“此地无银三百两”?

  出品:新浪财经上市公司研究院  作者:君  8月29日,深圳飞骧科技股份有限公司(下称“飞骧科技”)向联交所递交上市申请,国信证券 (香港)担任独家保荐人,致同(香港)会计师事务所有限公司担任独立核数师及申报会计师。

出品:新浪财经上市公司研究院

作者:君

8月29日,深圳飞骧科技股份有限公司(下称“飞骧科技”)向联交所递交上市申请,国信证券(香港)担任独家保荐人,致同(香港)会计师事务所有限公司担任独立核数师及申报会计师。

据招股书披露,飞骧科技拟将本次募集资金用于:(1)提升研发能力及优化产品(尤其是高性能及超小型PA集成模块)的性能;(2)高性能滤波器的研发;(3)砷化镓外延结构及SOI工艺的开发;(4)在有合适机会时用于潜在战略投资和收购;(5)用作营运资金及其他一般公司用途。

经营业绩层面,2022-2024年飞骧科技的营业收入逐年增长,复合年增长率高达55.1%;净亏损逐年收窄,于2024年扭亏为盈,录得净利润7629.5万元。不过,2025年上半年,公司营收及净利润双双下滑,经营业绩出现颓势。

财务状况方面,飞骧科技虽自2024年起实现扭亏,但并未改善经营现金持续净流出的局面。报告期内,公司经营活动现金流量净额合计-6.36亿元,流动性堪忧。截至2025年5月底,可供支配现金仅4.24亿元,而银行及其他借款则高达9.86亿元,面临巨额资金缺口。

需要强调的是,报告期内,飞骧科技部分五大客户的注册地址存在重叠情况,即出现疑似空壳公司迹象。年内,上市辅导期及递表前夕,前述客户却突击变更注册地址,或有“此地无银三百两”的嫌疑。

折戟科创板后重启IPO辅导 港股招股书却只字未提?

港股招股书显示,2015年5月,上海辛翔、凯华国芯、芯光润泽、斐振电子、国民技术共同出资设立深圳国民飞骧科技有限公司(下称“飞骧有限”)。2021年5月,飞骧有限整体变更为股份公司,即飞骧科技。

飞骧科技港股IPO:主要客户注册地址重合疑为空壳公司 递表前夕突击变更工商信息上演“此地无银三百两”?

2016年10月至2022年3月,飞骧科技完成16次股权融资,共筹集资金16.29亿元。

飞骧科技港股IPO:主要客户注册地址重合疑为空壳公司 递表前夕突击变更工商信息上演“此地无银三百两”?

最近一期融资则发生于2025年3月,经开同芯、建湖悦湖通过增资方式入股飞骧科技,价款合计3.78亿元。

综上,飞骧科技成立至今股权融资共计约20亿元。截至2025年3月最后一轮增资,公司估值约86亿元。

除股权融资外,飞骧科技曾于2022年10月首次向科创板递交IPO申请,原计划募资15.22亿元。2024年9月,公司及保荐机构招商证券撤回IPO申请,上交所于次月终止IPO审核。

飞骧科技港股IPO:主要客户注册地址重合疑为空壳公司 递表前夕突击变更工商信息上演“此地无银三百两”?飞骧科技第二期上市辅导工作进展情况报告

有意思的是,2025年2月20日,飞骧科技再次与招商证券签署辅导协议。7月11日,招商证券还披露了第二期上市辅导工作进展情况报告。

然而,短短1个月后,飞骧科技转向联交所递交招股书,保荐机构也变为了国信证券(香港)。

对于先前撤回科创板上市申请,飞骧科技在港股招股书中称,“经考虑我们的A股上市程序时间表的不确定性、我们的业务前景、我们的未来发展策略及当前市场环境,我们其后决定于2024年10月自愿撤回A股上市申请。”

不过,针对第二次上市辅导,飞骧科技却只字未提。为何7月还在接受上市辅导,8月即转而递表联交所?原因暂不得而知。

递表前夕实控人减持套利6000万元 是否仍背负大额债务?

值得一提的是,飞骧科技与A股上市公司国民技术的关联十分紧密。2015年5月,国民技术作为创始股东参与飞骧有限的设立(持股12%),并将其持有的无线射频产品事业部资产组以4500万元价格转让予飞骧有限。此后,国民技术根据PA(射频功率放大器)业务剥离进度逐步退出飞骧有限。

飞骧科技的核心管理团队也与国民技术存在渊源,公司董事会主席、执行董事兼总经理龙华曾任国民技术项目经理、无线射频产品部产品主管及总经理,执行董事兼副总经理郭嘉帅曾任国民技术研发经理。

员工持股平台上海超骧合伙人均有国民技术的工作经历,在公司成立初期即加入公司并跟随龙华一起创业。

股权结构方面,2019年8月,在收购其他联合创始人的股权后,龙华成为飞骧科技的控股股东。2022年3月,公司为龙华及其控制的上海辛翔、上海上骧设置特别表决权股份,龙华对公司的控制权得到进一步加强。

飞骧科技港股IPO:主要客户注册地址重合疑为空壳公司 递表前夕突击变更工商信息上演“此地无银三百两”?飞骧科技港股招股书

截至目前,龙华及其控制的上海上骧、上海辛翔及斐振电子合计持有3996万股A类普通股(每股可投十票)及5755万股B类普通股,约占飞骧科技已发行股本在股东大会上58.56%的投票股份

近年来,龙华出于个人资金需求频繁对外转让股份。根据上交所披露的招股说明书(申报稿),龙华于2022年7月至9月向澳威投资、嘉兴宁骧、扬州华骧、理想智胜、淄博毅源等5家机构转让股份,金额合计达9188万元,交易价格为17.14元/股。

第二轮审核问询环节,上交所重点关注了前述股权转让价格低于此前融资估值的原因,飞骧科技解释称系龙华个人债务压力下的短期资金筹措行为,且受让方通过时效性议价获得了一定折扣。

此外,据飞骧科技递交的港股招股书披露,龙华于2025年4月分别向建湖悦湖及嘉兴华宸转让公司股份69.89万股、306.9万股,转让金额合计5986.75万元

频繁减持套现背后,龙华曾背负大额债务。截至第二轮审核问询函回复出具日(2024年7月30日),龙华直接或间接负债本金合计为6896.9万元,债权人包括宁波华地、深圳罗霄及珠海格昀。根据借款协议之补充协议相关约定,上述债务的到期日为2028年12月31日,借款到期前龙华无需实际支付利息。

但令人疑惑的是,在本次港股招股书中,飞骧科技却对龙华前述大额负债讳莫如深,全文均未能检索到相关信息。不过,从今年5月龙华仍在减持套利来看,其目前面临的资金压力恐怕依然不小。

与龙华境地类似,飞骧科技面临较大流动性风险。2022-2024年及2025年1-5月(下称“报告期”),资产负债率分别为53.59%、69.32%、72.05% 及63.62%,整体呈上升趋势。

飞骧科技港股IPO:主要客户注册地址重合疑为空壳公司 递表前夕突击变更工商信息上演“此地无银三百两”?飞骧科技港股招股书

截至2025年5月底,飞骧科技银行及其他借款(含流动及非流动负债项)高达9.86亿元,但银行及手头现金却只有4.24亿元,连借款余额的一半都不到,面临较大资金缺口。

主要客户注册地址重叠 临近递表突击变更工商信息

飞骧科技是一家总部位于中国的无晶圆厂半导体公司,专注于设计、开发和销售射频前端芯片,下游应用领域包括移动智能设备、Wi-Fi产品、智能家居及其他物联网、车载通信及卫星通信等。

飞骧科技产品覆盖5G、4G、3G、2G、Wi-Fi、NB-IoT等多种网络标准通信制式,兼容主流蜂窝基带通信平台及Wi-Fi平台。公司在泛连接领域拥有高附加值的产品线,涵盖Wi-Fi系列、卫星通信及车载通信等终端应用。根据弗若斯特沙利文的资料,飞骧科技于2020年成为中国首家推出完全支持所有5G频段的5G射频前端解决方案的本土企业。

根据弗若斯特沙利文的资料,中国射频前端芯片市场规模由2020年的229亿元增长至2024年的336亿元,复合年增长率为10.0%,预计到2029年达到530亿元。

尽管国内市场增长迅速,但全球市场目前仍由美日企业主导,思佳讯(Skyworks)、Qorvo、博通(Broadcom)和村田制作所(Murata)四家巨头合计占据超过80%的市场份额。

最近一个报告期,Skyworks、Qorvo、Broadcom和Murata的营业收入分别高达296.86亿元、264.24亿元、3664.44亿元及838.76亿元。

反观飞骧科技,报告期内分别实现营业收入10.22亿元、17.17亿元、24.58亿元,复合年增长率虽达55.1%,但收入规模仍远低于全球性龙头。

2025年上半年,飞骧科技的营业收入为7.56亿元,同比下降7.60%;净利润1331.7万元,同比下降9.75%,经营业绩已出现颓势。

尽管自2024年起,飞骧科技实现扭亏为盈,但并未改变经营现金持续大额流出的局面。报告期内,经营活动现金流量净额分别为-2.43亿元、-0.26亿元、-1.78亿元及-1.89亿元,合计净流出6.36亿元。其中2025年上半年,经营现金净流出额同比增长39.55%,显示回款状况恶化

公开资料显示,国内射频前端产业受益于国家政策环境、供应链多元化红利及资本热潮的驱动,近几年涌入了大量行业新进者,聚焦于部分技术门槛较低且同质化严重的中低端射频前端产品领域,本土竞争日趋激烈

飞骧科技虽标榜“产品已被广泛应用于领先移动科技品牌的产品中”,但从实际情况来看,其产品仍主要应用于中低端手机,主要终端客户为传音、联想(摩托罗拉)等非头部手机厂商

飞骧科技港股IPO:主要客户注册地址重合疑为空壳公司 递表前夕突击变更工商信息上演“此地无银三百两”?飞骧科技科创板问询函回复

根据科创板问询函回复,2023年飞骧科技应用于联想(摩托罗拉)、传音及其他的产品出货量占总出货量比重在60%以上。在本次港股招股书中,公司则对产品终端应用情况闭口不谈。

此外,飞骧科技对主要客户存在重大依赖风险。公司产品销售主要采取经销模式,主要客户为行业内具有较强实力和较好口碑的经销商,终端客户主要为行业下游头部ODM厂商及品牌厂商。

飞骧科技港股IPO:主要客户注册地址重合疑为空壳公司 递表前夕突击变更工商信息上演“此地无银三百两”?

报告期内,来自五大客户的收益分别占各期间总收益的73.8%、74.2%、77.6%及79.7%,呈逐年上升趋势,其中来自各最大客户的收益分别占各期间总收益的19.1%、25.6%、24.6%及25.8%。

除客户G为上市公司附属公司外,其余五大客户均为从事电子元器件经销的私营企业,主要向ODM制造商经销公司的产品。

根据科创板问询函回复,港股招股书中的客户B应为翰世宇科技,其深圳公司和香港公司注册资本分别为500万元人民币和1万元港币,实控人为刘春发。

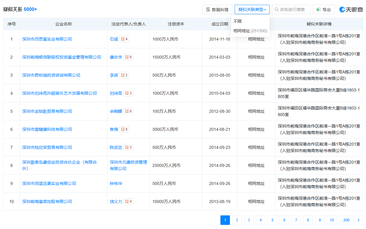
飞骧科技港股IPO:主要客户注册地址重合疑为空壳公司 递表前夕突击变更工商信息上演“此地无银三百两”?天眼查

天眼查显示,深圳公司注册地址曾为深圳市前海深港合作区前湾一路1号A栋201室(入驻深圳市前海商务秘书有限公司),有若干注册于相同地址的企业。

飞骧科技港股IPO:主要客户注册地址重合疑为空壳公司 递表前夕突击变更工商信息上演“此地无银三百两”?天眼查

直至今年6月,深圳公司才完成工商变更登记,将地址变更为深圳市南山区粤海街道科技园社区深南路科技工业园50号小区澳特创新中心D栋1901。彼时,飞骧科技正处于第二次上市辅导期。

飞骧科技港股IPO:主要客户注册地址重合疑为空壳公司 递表前夕突击变更工商信息上演“此地无银三百两”?天眼查

根据科创板问询函回复,客户A即天诚发展与飞骧科技的交易主体包括香港天诚发展有限公司、深圳市文臻科技有限公司及深圳市天诚芯科技有限公司。

飞骧科技港股IPO:主要客户注册地址重合疑为空壳公司 递表前夕突击变更工商信息上演“此地无银三百两”?天眼查

其中,深圳市文臻科技有限公司的注册地址同样为深圳市前海深港合作区前湾一路1号A栋201室(入驻深圳市前海商务秘书有限公司),深圳市天诚芯科技有限公司的注册地址也曾为该地址,直至今年8月14日才完成工商变更登记,距离飞骧科技递表联交所间隔仅半个月。

五大客户的注册地址缘何重合,是否均为空壳公司?又为何选在飞骧科技递表前夕突击变更注册地址,是否“此地无银三百两”?

责任编辑:公司观察

本文来自网络,不代表天牛新闻网立场,转载请注明出处:http://hd880.cn/22884.html

作者: wczz1314

为您推荐

发表回复

您的邮箱地址不会被公开。 必填项已用 * 标注

联系我们

联系我们

13000001211

在线咨询: QQ交谈

邮箱: email@wangzhan.com

关注微信
微信扫一扫关注我们

微信扫一扫关注我们

关注微博
返回顶部